1.3: Drawing tools
- Page ID
- 120357
\( \newcommand{\vecs}[1]{\overset { \scriptstyle \rightharpoonup} {\mathbf{#1}} } \)
\( \newcommand{\vecd}[1]{\overset{-\!-\!\rightharpoonup}{\vphantom{a}\smash {#1}}} \)
\( \newcommand{\dsum}{\displaystyle\sum\limits} \)
\( \newcommand{\dint}{\displaystyle\int\limits} \)
\( \newcommand{\dlim}{\displaystyle\lim\limits} \)
\( \newcommand{\id}{\mathrm{id}}\) \( \newcommand{\Span}{\mathrm{span}}\)
( \newcommand{\kernel}{\mathrm{null}\,}\) \( \newcommand{\range}{\mathrm{range}\,}\)
\( \newcommand{\RealPart}{\mathrm{Re}}\) \( \newcommand{\ImaginaryPart}{\mathrm{Im}}\)
\( \newcommand{\Argument}{\mathrm{Arg}}\) \( \newcommand{\norm}[1]{\| #1 \|}\)
\( \newcommand{\inner}[2]{\langle #1, #2 \rangle}\)
\( \newcommand{\Span}{\mathrm{span}}\)
\( \newcommand{\id}{\mathrm{id}}\)
\( \newcommand{\Span}{\mathrm{span}}\)
\( \newcommand{\kernel}{\mathrm{null}\,}\)
\( \newcommand{\range}{\mathrm{range}\,}\)
\( \newcommand{\RealPart}{\mathrm{Re}}\)
\( \newcommand{\ImaginaryPart}{\mathrm{Im}}\)
\( \newcommand{\Argument}{\mathrm{Arg}}\)
\( \newcommand{\norm}[1]{\| #1 \|}\)
\( \newcommand{\inner}[2]{\langle #1, #2 \rangle}\)
\( \newcommand{\Span}{\mathrm{span}}\) \( \newcommand{\AA}{\unicode[.8,0]{x212B}}\)
\( \newcommand{\vectorA}[1]{\vec{#1}} % arrow\)
\( \newcommand{\vectorAt}[1]{\vec{\text{#1}}} % arrow\)
\( \newcommand{\vectorB}[1]{\overset { \scriptstyle \rightharpoonup} {\mathbf{#1}} } \)
\( \newcommand{\vectorC}[1]{\textbf{#1}} \)
\( \newcommand{\vectorD}[1]{\overrightarrow{#1}} \)
\( \newcommand{\vectorDt}[1]{\overrightarrow{\text{#1}}} \)
\( \newcommand{\vectE}[1]{\overset{-\!-\!\rightharpoonup}{\vphantom{a}\smash{\mathbf {#1}}}} \)
\( \newcommand{\vecs}[1]{\overset { \scriptstyle \rightharpoonup} {\mathbf{#1}} } \)
\(\newcommand{\longvect}{\overrightarrow}\)
\( \newcommand{\vecd}[1]{\overset{-\!-\!\rightharpoonup}{\vphantom{a}\smash {#1}}} \)
\(\newcommand{\avec}{\mathbf a}\) \(\newcommand{\bvec}{\mathbf b}\) \(\newcommand{\cvec}{\mathbf c}\) \(\newcommand{\dvec}{\mathbf d}\) \(\newcommand{\dtil}{\widetilde{\mathbf d}}\) \(\newcommand{\evec}{\mathbf e}\) \(\newcommand{\fvec}{\mathbf f}\) \(\newcommand{\nvec}{\mathbf n}\) \(\newcommand{\pvec}{\mathbf p}\) \(\newcommand{\qvec}{\mathbf q}\) \(\newcommand{\svec}{\mathbf s}\) \(\newcommand{\tvec}{\mathbf t}\) \(\newcommand{\uvec}{\mathbf u}\) \(\newcommand{\vvec}{\mathbf v}\) \(\newcommand{\wvec}{\mathbf w}\) \(\newcommand{\xvec}{\mathbf x}\) \(\newcommand{\yvec}{\mathbf y}\) \(\newcommand{\zvec}{\mathbf z}\) \(\newcommand{\rvec}{\mathbf r}\) \(\newcommand{\mvec}{\mathbf m}\) \(\newcommand{\zerovec}{\mathbf 0}\) \(\newcommand{\onevec}{\mathbf 1}\) \(\newcommand{\real}{\mathbb R}\) \(\newcommand{\twovec}[2]{\left[\begin{array}{r}#1 \\ #2 \end{array}\right]}\) \(\newcommand{\ctwovec}[2]{\left[\begin{array}{c}#1 \\ #2 \end{array}\right]}\) \(\newcommand{\threevec}[3]{\left[\begin{array}{r}#1 \\ #2 \\ #3 \end{array}\right]}\) \(\newcommand{\cthreevec}[3]{\left[\begin{array}{c}#1 \\ #2 \\ #3 \end{array}\right]}\) \(\newcommand{\fourvec}[4]{\left[\begin{array}{r}#1 \\ #2 \\ #3 \\ #4 \end{array}\right]}\) \(\newcommand{\cfourvec}[4]{\left[\begin{array}{c}#1 \\ #2 \\ #3 \\ #4 \end{array}\right]}\) \(\newcommand{\fivevec}[5]{\left[\begin{array}{r}#1 \\ #2 \\ #3 \\ #4 \\ #5 \\ \end{array}\right]}\) \(\newcommand{\cfivevec}[5]{\left[\begin{array}{c}#1 \\ #2 \\ #3 \\ #4 \\ #5 \\ \end{array}\right]}\) \(\newcommand{\mattwo}[4]{\left[\begin{array}{rr}#1 \amp #2 \\ #3 \amp #4 \\ \end{array}\right]}\) \(\newcommand{\laspan}[1]{\text{Span}\{#1\}}\) \(\newcommand{\bcal}{\cal B}\) \(\newcommand{\ccal}{\cal C}\) \(\newcommand{\scal}{\cal S}\) \(\newcommand{\wcal}{\cal W}\) \(\newcommand{\ecal}{\cal E}\) \(\newcommand{\coords}[2]{\left\{#1\right\}_{#2}}\) \(\newcommand{\gray}[1]{\color{gray}{#1}}\) \(\newcommand{\lgray}[1]{\color{lightgray}{#1}}\) \(\newcommand{\rank}{\operatorname{rank}}\) \(\newcommand{\row}{\text{Row}}\) \(\newcommand{\col}{\text{Col}}\) \(\renewcommand{\row}{\text{Row}}\) \(\newcommand{\nul}{\text{Nul}}\) \(\newcommand{\var}{\text{Var}}\) \(\newcommand{\corr}{\text{corr}}\) \(\newcommand{\len}[1]{\left|#1\right|}\) \(\newcommand{\bbar}{\overline{\bvec}}\) \(\newcommand{\bhat}{\widehat{\bvec}}\) \(\newcommand{\bperp}{\bvec^\perp}\) \(\newcommand{\xhat}{\widehat{\xvec}}\) \(\newcommand{\vhat}{\widehat{\vvec}}\) \(\newcommand{\uhat}{\widehat{\uvec}}\) \(\newcommand{\what}{\widehat{\wvec}}\) \(\newcommand{\Sighat}{\widehat{\Sigma}}\) \(\newcommand{\lt}{<}\) \(\newcommand{\gt}{>}\) \(\newcommand{\amp}{&}\) \(\definecolor{fillinmathshade}{gray}{0.9}\)By the end of this section, learners will be able to
- Describe the graphite grading scale of pencils and its relevance to line quality in technical drawing.
- Use a T-square to draw horizontal and vertical lines.
- Draw lines at 90, 45, 30, and 60-degree angles using drafting triangles.
- Construct lines at various angles using a combination of two triangles or a triangle and a T-square.
- Use a compass to create circles and arcs in technical drawings.
Hand drawing tools
Learning how to draw by hand is a valuable skill for engineering students, even though most engineering and architecture firms today primarily use computer-based drawing tools. Computer Aided Design (CAD) offers several advantages over hand drawing: it makes it easier to share, save, copy, store, and edit drawings. However, the ability to create a quick sketch on-site or during the early stages of design remains important. Furthermore, hand drawing can help support the learning process and the development of spatial visualization skills.
This section defines and explains how to choose and use tools commonly used in hand drawing, including pencils, a T-square, drafting triangles, and a compass.
The pencil
The pencil is the primary tool used in hand drawing. Pencils come with leads of varying hardness grades. Harder pencil leads deposit less material on the paper, resulting in lighter lines and are more appropriate for technical drawings, as they reduce smudging and help keep the sheet clean. In contrast, softer leads leave more material on the paper, producing darker lines. Pencils with softer leads are generally used in artistic drawings to create shades and greater contrast.
Information about the lead type is typically printed on the pencil's body. Leads with different levels of thickness and softness can be purchased for mechanical pencils.
| Graphite pencil lead grades | ||
|---|---|---|
| Hard leads | Medium leads | Soft leads |
| 9H, 8H, 7H, 6H, 5H, 4H | 3H, 2H, H, F, HB, B | 2B, 3B, 4B, 5B, 6B, 7B |
Table 1.3.1: Classification of pencil lead grades.
The T-square
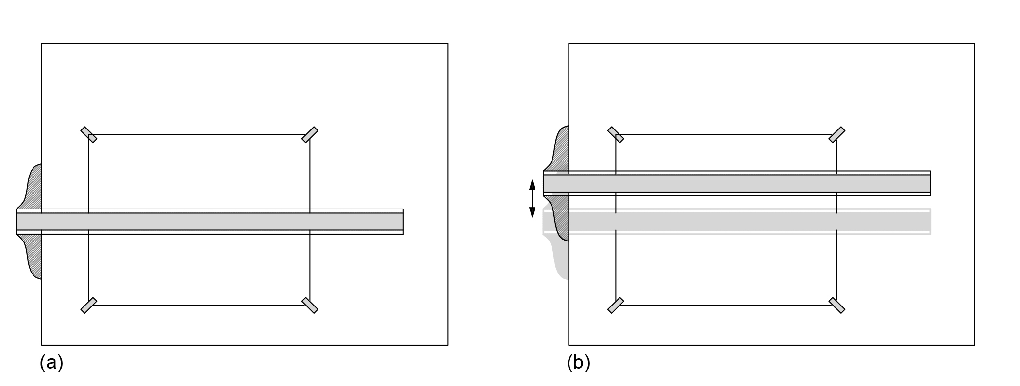
A T-square is a T-shaped drawing tool designed for creating horizontal lines. Used in combination with triangles, it enables the drawing of lines at various angles. The correct use of a T-square involves aligning the shorter side of the T, called the head, against the edge of the drafting table. By maintaining this alignment and sliding the T-square along the edge, it is possible to draw a series of parallel horizontal lines.
Drafting triangles
Drafting triangles are drawing tools used to create lines at specific angles. The two most common types are the 45-degree triangle, which has two 45-degree angles and one 90-degree (right) angle, and the 30/60 triangle, which has angles of 30, 60, and 90 degrees. Because both types include a right angle, they can be used to draw vertical lines by placing the side of the triangle with the right angle against the T-square, as shown in Figure 1.3.3.
To draw a line at a 45-degree angle, the 45-degree triangle can be used in combination with a T-square or another triangle, as illustrated in Figure 1.3.4. The T-square provides a horizontal reference, while the triangle is used to draw the inclined line. In the example, the triangle is positioned to draw a line sloping upward to the right. The opposite side can be used to draw a line sloping in the other direction.
To draw a line at a 30-degree angle, the 30/60 drafting triangle can be used in combination with a T-square or another triangle, as shown in Figure 1.3.5. Similar to the previous example, the T-square provides a horizontal reference, while the triangle is used to draw the inclined line. In this example, the triangle is positioned to draw a line sloping upward to the right. The triangle can be flipped to draw a line sloping in the opposite direction.
A similar process can be used to construct a line at a 60-degree angle, as illustrated in Figure 1.3.5. In the example below, the 30/60 triangle is positioned on the T-square with the 60-degree angle on the left and the right angle on the right. Similar to the previous examples, the triangle is positioned to draw a line sloping upward to the right. The triangle can be flipped to draw a line sloping in the opposite direction.
When used in combination, the drafting triangles enable the construction of lines at 15-degree increments, as shown in Figure 1.3.7.
The compass
The compass is a drawing tool used to create circles or arcs in technical drawings. It has two legs—one with a pointed tip that anchors the center, and the other with a graphite tip that draws the circle or arc.
Scales
Depending on their size, objects must be represented at a reduced or enlarged scale in a drawing while maintaining their proportions. For example, large structures like buildings or bridges need to be drawn at a reduced scale, while very small objects, such as computer chips, have to be enlarged to show detailed features. Scales, or scaled rulers, are drawing tools used to reduce or enlarge the size of objects in technical drawings. Section 1.4 describes the engineer's scale, the architect's scale, and the metric scale.


